Berøringsskjermer har revolusjonert grensesnittet til moderne mobiltelefoner og gitt opphav til en ny kategori hjelpemidler, nettbrett. Samtidig skaper nyvinningen nye utfordringer for funksjonshemmede.

Apple leverte 1. september en patentsøknad for å løse problemet: Accessory Protocol For Touch Screen Device Accessibility.


Patentet er formulert med tanke på å dekke nær sagt alle slags tenkelige løsninger for å la funksjonshemmede betjene apparater med berøringsskjermer.
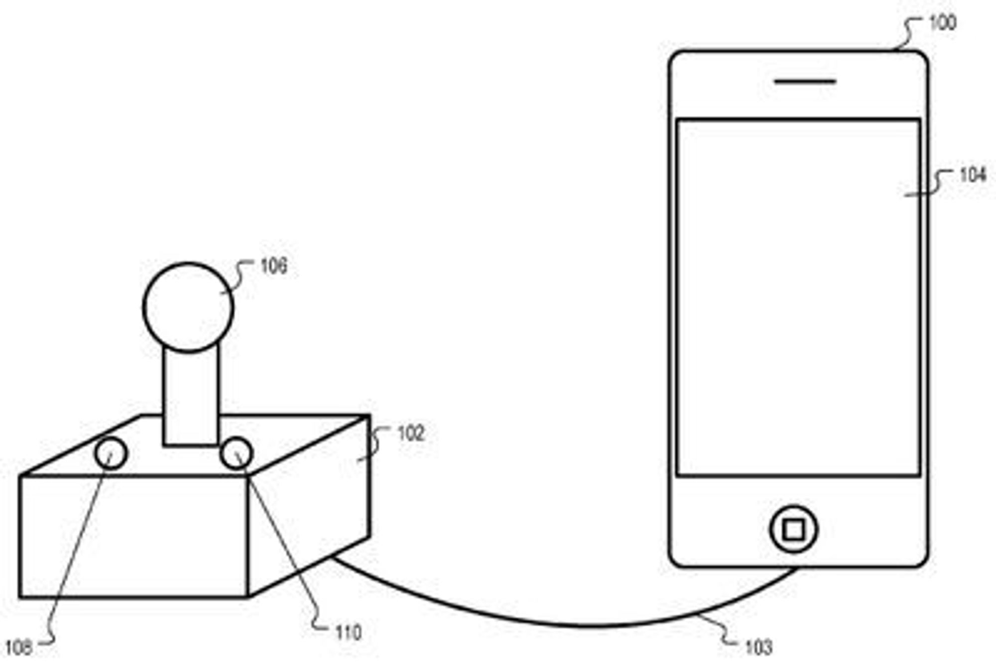
Poenget er å oversette kommandoer og parametere fra og til et tilpasset apparat som betjenes av en funksjonshemmet. Tegningen viser en kontrollpinne med to knapper: Det presiseres at dette er bare et eksempel, og at den tilpassede kontrollen kan omfatte omtrent hva som helst, som egen høyttaler, skjerm, hodepinne, leselist og så videre.
Patentsøknaden beskriver en protokoll og et rammeverk som tilfredsstiller kravet til allsidighet, og som ikke er begrenset til noe bestemt operativsystem. Det understrekes for eksempel at kommandoer gitt av en lyspenn som også virker dersom den holdes litt over selve skjermflaten, også skal kunne reproduseres av apparatet som gir den funksjonshemmede brukeren tilgang til enheten med berøringsskjerm. Apple iOS bruker, som kjent, ikke denne typen berøringsskjerm.
Det stadfestes også at protokollen og rammeverket skal sørge for en standardisert måte for den funksjonshemmede å bruke det samme tilpassede hjelpemiddelet til å styre ethvert apparat med berøringsskjerm. Protokollen og rammeverket skal følgelig gjøre det mulig å bruke det samme hjelpemiddelet mot både mobiltelefon og nettbrett. Tilpasninger til ulikhetene mellom apparatene, som skjermstørrelse, skal utføres i et samspill mellom hjelpemiddelet og apparatet.
Kontakten mellom hjelpemiddelet og apparatet med berøringsskjerm kan opprettes gjennom kabel, men kan også skje trådløst. I prinsippet vil enhver type trådløs forbindelse kunne brukes, ikke bare Bluetooth eller WLAN. Patentet åpner følgelig for en løsning der ulike apparater står i et eget nettverk sammen med hjelpemiddelet, og at hjelpemiddelet automatisk styrer det apparatet som står nærmest.





